
![]() |
![]() |
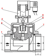
| ZCH化工專用電磁閥 | ZCH化工專用電磁閥 1.閥體2.大襯套3.閥芯4.線圈5.小襯套6.閥桿7.閥帽 |
石油、煤氣、化工、醫(yī)藥等行業(yè)
電磁閥的電磁線圈通電時,動鐵芯被吸合,帶動閥桿上移,彈簧同時被壓縮,使閥桿與閥芯中孔(先導孔)分離,閥芯上腔的流體瞬間從中孔缷壓,缷壓后閥芯在上下腔壓差的作用下快速向上浮起,電磁閥開啟。電磁閥的線圈斷電時,閥桿在彈簧力的作用下關閉閥芯中孔,并推動閥芯向下移,封住流體出口,電磁閥關閉。
閥體材質: ABS、PDDA、F4
工作介質:化學流體
控制方式:常閉式
公稱通徑:DN15——DN80
介質溫度:≤60℃
公稱壓力:1.0 1.6Mpa
工作壓差:0.01---1.0Mpa
電源:AC220V DC24V
額定流量系數:4—70Kv
額定功率:22---42VA
泄露量:0ml/min
浮動閥芯 誘導啟閉 專利技術 密封性好
動作靈敏 安全可靠 材質獨特 無垢無銹
| 公稱通徑 DN | 粘接承口 內徑de | 內螺紋 連接G | 承插長度L1 | 長*寬*高 | 帶法蘭 長*寬*高 |
|---|---|---|---|---|---|
| 15 | 20 | 1/2" | 16.5 | 68*40*141.5 | 112*95*174 |
| 20 | 25 | 3/4" | 18 | 75*46*150 | 125*105*184.5 |
| 25 | 32 | 1" | 22 | 95*58*182 | 151*115*216.5 |
| 32 | 40 | 1(1/4)" | 26 | 130*85*234 | 194*140*276.5 |
| 40 | 50 | 1(1/2)" | 31.5 | 145*85*243 | 217*145*283 |
| 50 | 63 | 2" | 38 | 180*107*267 | 270*165*312 |
| 65 | 75 | 2(1/2)" | 44 | 215*134*332 | 315*185*378 |
| 80 | 90 | 3" | 51 | 255*165*359 | 365*200*403.5 |